Carrello
Non ci sono altri prodotti nel carrello
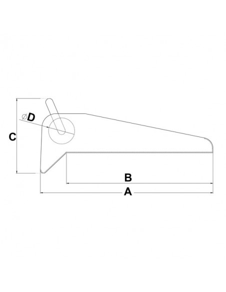
Realizzato in acciaio inox Aisi 316.
CLICCA SULLA VARIANTE
| Modello | A mm | B mm | C mm | L mm | Peso Kg | D mm | Rullo | Prezzo |
|---|---|---|---|---|---|---|---|---|
WhatsApp
